监控
在使用IGserver的过程中,需要实时掌握服务器工作状态,并在需要时可以随时调用监控记录进行查看。
服务器监控
功能说明
服务器监控显示该IGServer客户机的计算机使用性能,包括CPU占用率、实时内存占用率、实时读取速度、实时下载速度、CPU监控、JVM信息、服务器信息、磁盘状态等信息。
操作说明
1. 切换到"监控"->"服务监控"页面,页面中会显示计算机的实时性能信息;
2. 选择开始日期和结束日期,可显示指定时间段内的计算机使用性能信息



服务器性能监控
功能说明
服务器性能监控中显示了IGServer服务器中各服务的今日总访问量、累计总访问量、实时并发数以及平均响应时间等服务使用信息。
操作说明
1. 切换到"监控"->"服务性能监控"页面,页面中会显示服务的使用信息:

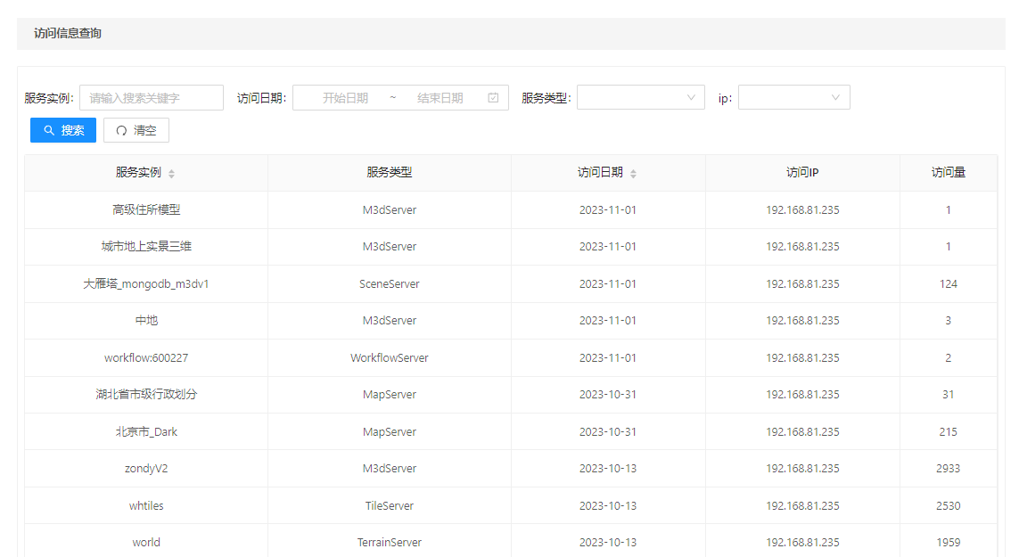
服务实例监控
功能说明
服务实例监控提供了IGServer服务器中访问信息分组统计和访问信息查询功能。
操作说明
1. 切换到"监控"->"服务实例监控"页面,页面中会显示访问信息分组统计信息:

2. 可进行服务访问信息查询。

系统状态
1. 服务进程状态,提供系统各个进程健康状态展示,可正常展示igs进程、dcs进程、扩展服务进程状态,各个进程的线程池、内存状态,展示mongodb连接池状态。

2. 正在执行得请求,查看、导出正在执行的请求信息。

3. 线程堆栈,提供各个进程的日志打印。包括示igs进程、dcs进程、扩展服务进程。

4. JVM错误日志,可在页面上查看所有JVM崩溃日志。如果在igserver_for_java/logs文件夹下有hs_err_pid.log文件,则页面上可查看(可手动拷贝测试文件到logs文件夹下)。支持查看日志内容,并有高亮着色,支持导出文件。

告警管理
功能说明
当IGServer服务器遇到进程崩溃,线程池满,http慢请求,DCS慢请求等情况时,可将相关信息罗列在告警管理中。以便用户实时监测IGServer服务器的正常运行。
操作说明
1. 切换到"监控"->"告警管理"页面,可罗列出告警信息:

监控配置
告警邮件通知配置
提示:
配置告警邮件通知信息前,需保证已设置"邮件配置"
1. 切换到"监控"->"监控配置"页面,点击"告警邮件通知配置":

2. 启用邮件通知,可设置通知频率、邮箱、标题信息。

异常日志邮件通知配置
1. 切换到"监控"->"监控配置"页面,点击"异常日志邮件通知配置",可设置通知级别。

Exporter监控配置
应用于云管等三方应用使用prometheus来监控IGServer服务器,在windows上启动windows-exporter,Linux上启动node-exporter。
1. 切换到"监控"->"监控配置"页面,点击"Exporter监控配置":

2. 开启后,可设置端口信息。
