数据管理
数据集管理
遥感影像
功能说明
遥感影像基于深度学习框架,提供数据关联与融合、空间分析与预测、聚类分类与统计等智能化服务,应用于遥感影像变化检测、建筑物提取等领域。
IGServer-S提供遥感数据集创建、删除功能,提供遥感及标签数据文件导入、下载、删除、关联等功能,支撑实例分割、语义分割、目标检查、影像分类等场景。
参数说明
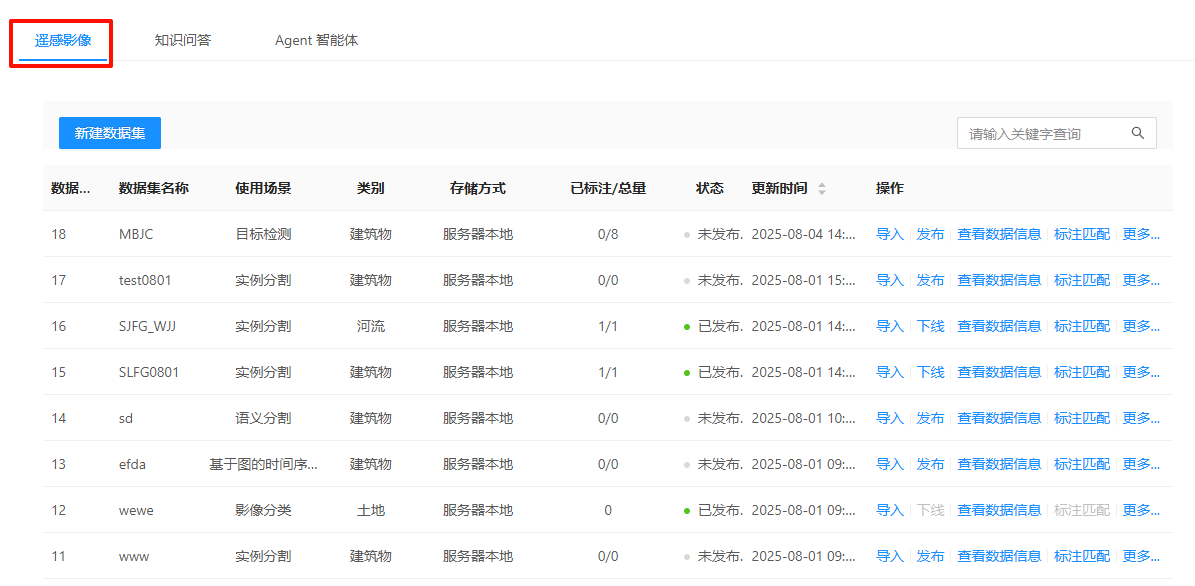
1. 登录系统,切换到"数据管理"->"数据集管理"->"遥感影像"页面,列表中可显示所有遥感影像:

2. 点击"新建数据集",可构建一个遥感影像数据集:

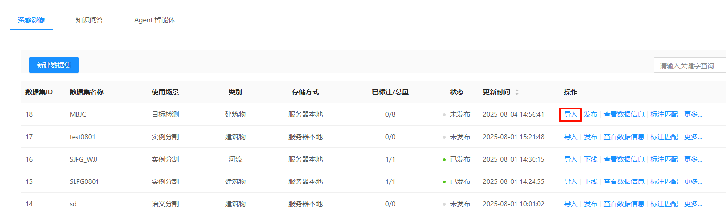
3. 新建完成后,在列表点击数据集后方的"导入",可选择导入样本数据和导入标注数据。

样本数据支持*png、*tif、jgp及jpeg格式数据,标注数据支持geojson数据,导入均支持以文件及文件夹两种类型导入。

4. 导入完成后,需要执行“标准匹配”,忽略多余字符,主要目的是让标注数据与样本数据命名保持一致。

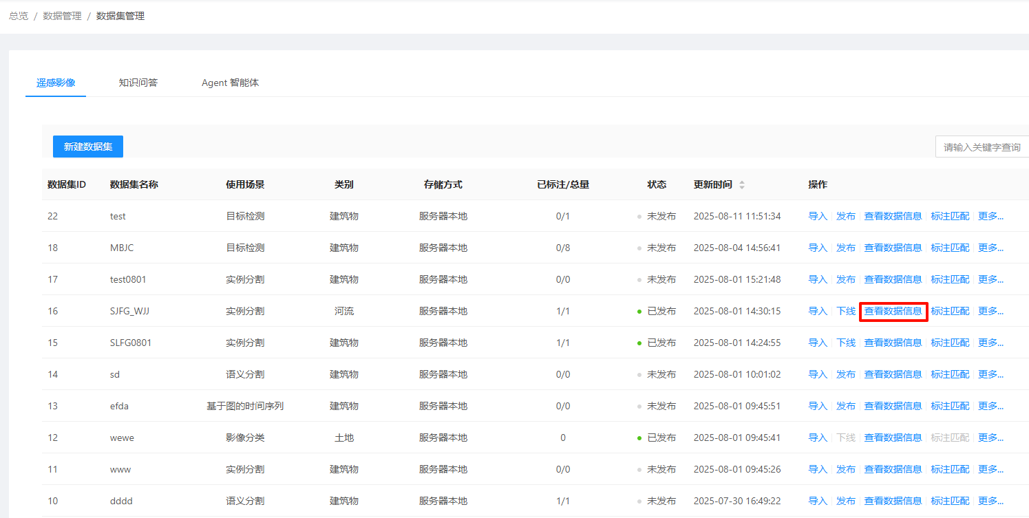
5. 标准匹配成功后,在列表中点击“查看数据集”页面会提示“已标注”信息,反之,会提示“未标准”。


6. 点击列表后方的"发布",可发布该遥感影像数据集。
7.点击列表后方的"下线",可取消发布该遥感影像数据集,下线后需要重新发布。
8. 点击列表后方的"编辑",可编辑该遥感影像数据集。
9. 点击列表后方的"删除",可删除该遥感影像数据集。
10. 点击列表后方的"创建训练任务",可基于该遥感影像数据集创建训练任务,其参数设置根据实际应用需求进行调整。
- 设置完参数后“确认”开始执行训练任务,在“训练管理”页面可查看训练结果;

【算法名称】:下拉框选择适合数据集训练的算法模型;
【使用场景】:下拉框选择一个适合的标签;
【训练任务名称】:自定义一个名称;
【训练数据集】:选择已经存在的数据集;
【训练框架】:默认选择pytorch即可;
知识问答
功能说明
知识问答是对用户提出的问题进行准确回答的人工智能系统,通常基于深度学习技术,并使用大量的文本数据进行训练,能够理解复杂的语义信息、上下文关联信息。
IGServer-S提供智能问答数据集创建、删除功能,提供问题及答案内容的输入、编辑、删除等功能,能够根据提供的文档或知识库来回答用户的问题。
参数说明
1. 登录系统,切换到"数据管理"->"数据集管理"->"知识问答"页面,列表中可显示所有知识问答数据集:

2. 点击"新建数据集",可构建一个知识问答数据集:

3. 点击数据集后方的"导入",可选择*.jsonl数据,批量导入问答信息。

可导入的*.jsonl格式示例如下:
[
{
"instruction": " 政策解读",
"input": "",
"output": "为深入贯彻落实《中共中央国务院关于建立国土空间规划体系并监督实施的若干意见》和“健全规划实时监测、定期评估、动态维护制度,建立城市体检评估机制”的指示精神,依据国土空间规划“一年一体检、五年一评估”的方式,对城市发展体征及规划实施效果定期进行分析和评价,以促进城市高质量发展、保障国土空间规划得到有效实施。根据《自然资源部办公厅关于认真抓好国土空间规划城市体检评估规程贯彻落实工作的通知》(自然资办发〔2021〕\n55 号)和根据住房和城乡建设部《住房和城乡建设部关于开展 2021 年城市体检工作的通知》(建科函[2021]44 号)、《省自然资源厅办公室关于开展 2021 年度国土空间规划城市体检评估工作的通知》(鄂自然资办函〔2022〕201 号)文件精神,开展枣阳市国土空间规划城市体检评估工作。",
"history": []
},
{
"instruction": "国家战略发展要求",
"input": "",
"output": "国土空间规划城市体检评作为新时代高质量发展、高品质生活和高效能治理的重要管理工具,成为国家空间规划体系中将制度优势转化为治理效能的重要机制通道。 \n基于对城市发展规律的客观认识,融入对政策原则、规划目标等上位要求的提炼,并结合城市的主要特征,初步构建一套适合中国城市实情的定期体检评估工作机制与评估指标体系,诊病灶、治未病,将是实现规划全生命周期管理、提升城市治理现代化水平、推动城市高质量发展的关键保障。 \n将制度优势更好转化为治理效能。国土空间规划城市体检评估是促进城市高质量发展、提高国土空间规划实施有效性的重要工具,城市体检评估的对象既包括城市,也包括规划。对城市的特征状态从安全、创新、协调、绿色、开放、共享等六个维度进行监测和评价;对规划的编制和实施从战略定位、底线管控、规模结构、空间布局、支撑体系、实施保障等六个方面进行评估,反映规划实施的效力(规划实施一致性)、效益(实施结果合理性)、效应(使用主体评价)和保障(实施环境和政策机制),以及规划本身的作用和适应性。 \n城市体检评估关于战略定位、底线管控、规模结构、空间布局、支撑体系、\n实施保障等六个方面内容的设置是基本框架,同国土空间总体规划编制主要内容衔接。发挥规划对城市发展的战略引领。",
"history": []
}
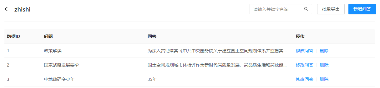
]4. 用户也可交互输入问答信息。点击数据集后方的"新增问答",即可交互输入问答信息。

5. 输入问答信息后,点击"查看数据集",可浏览已导入的问答信息。

6. 点击列表后方的"发布",可发布该知识问答数据集。
7.点击列表后方的"下线",可取消发布该知识问答数据集,下线后需要重新发布。
8. 点击列表后方的"编辑",可编辑该知识问答数据集。
9. 点击列表后方的"删除",可删除该知识问答数据集。
10. 点击列表后方的"创建微调任务",可基于该知识问答数据集创建微调任务,具体操作可参考大模型调优。
Agent智能体
功能说明
Agent智能体是在人工智能领域中,能够自主运行并根据环境变化作出相应决策的软件或系统。智能体(Agent)可以被设计用于执行特定任务、解决问题或与用户及其他智能体进行交互。它们能够在复杂、动态的环境中操作,并且具备一定程度的自治性、反应能力、适应能力和社交能力。
IGServer-S系统可接入 和 智能体,提供Agent智能体数据集创建、删除功能,提供Agent智能体、接口、解译结果的输入、编辑、删除等功能。
参数说明
1. 登录系统,切换到"数据管理"->"数据集管理"->"Agent智能体"页面,列表中可显示所有Agent智能体:

2. 点击"新建数据集",可构建一个Agent智能体数据集:

3. 点击数据集后方的"导入",可选择*.jsonl数据,批量导入问答信息。

可导入的*.jsonl格式示例如下:
{ "tools": [
{
"type": "function",
"function": {
"name": "mapgis_tool",
"description": "It is used to parse parameters in natural language and convert them into key-value pairs with only one layer.\napi_type and key_value are all required parameters.\nIf there are required parameters for default values that are not mentioned by the user in natural language, you need to put these parameters in the key_value as well.\nThe value of the api_type is determined by the rules below::\n Get a list of all installed storage services:0,当api_type为0时,key_value={},不需要其他的任何参数,api_type is the required field.",
"parameters": {
"type": "object",
"properties": {
"api_type": {
"type": "int",
"description": "You need to determine which API the user wants to call from the user's input,and find the corresponding api_type value based on the information given,required field"
},
"key_value": {
"type": "dict",
"description":"a dict include all keys,values,required field"
}
},
"required": ["api_type","key_value"]
}
}
}
],
"conversations": [{"from": "user", "value": "获取所有存储服务列表"},
{"from": "assistant", "value": "问题:获取安装的存储服务列表 思考:根据问题描述,需要使用mapgis_tool工具,并设置api_type为0,key_value为空。 Action:{\"action\": \"mapgis_tool\", \"action_input\": {\"api_type\": 0, \"key_value\": {}}}"}]}
{ "tools": [
{
"type": "function",
"function": {
"name": "mapgis_tool",
"description": "It is used to parse parameters in natural language and convert them into key-value pairs with only one layer.\napi_type and key_value are all required parameters.\nIf there are required parameters for default values that are not mentioned by the user in natural language, you need to put these parameters in the key_value as well.\nThe value of the api_type is determined by the rules below::\n Get a list of all installed storage services:0,当api_type为0时,key_value={},不需要其他的任何参数,api_type is the required field.",
"parameters": {
"type": "object",
"properties": {
"api_type": {
"type": "int",
"description": "You need to determine which API the user wants to call from the user's input,and find the corresponding api_type value based on the information given,required field"
},
"key_value": {
"type": "dict",
"description":"a dict include all keys,values,required field"
}
},
"required": ["api_type","key_value"]
}
}
}
],
"conversations": [{"from": "user", "value": "获取所有存储服务列表"},
{"from": "assistant", "value": "问题:获取安装的存储服务列表 思考:根据问题描述,需要使用mapgis_tool工具,并设置api_type为0,key_value为空。 Action:{\"action\": \"mapgis_tool\", \"action_input\": {\"api_type\": 0, \"key_value\": {}}}"}]}4. 用户也可交互输入问答信息。点击数据集后方的"新增问答",即可交互输入问答信息。

5. 输入问答信息后,点击"查看数据集",可浏览已导入的问答信息。

6. 点击列表后方的"发布",可将发布该Agent智能体。
7. 点击列表后方的"编辑",可将编辑该Agent智能体。
8. 点击列表后方的"删除",可将删除该Agent智能体。
9. 点击列表后方的"创建微调任务",可基于该Agent智能体创建微调任务,具体操作可参考大模型调优。
数据处理
- 数据集管理新建数据集导入数据成功,然后进行发布,成功后可直接跳转在"数据处理"-"任务监控"中查看任务发布状态。

任务详情可以查看监控信息。如执行信息、输出日志及错误日志等信息。

2.也可以直接在"数据处理"-"任务监控"中创建任务,跳转至"功能服务",创建及编辑任务,测试提供的功能服务是否能正确应用。

创建任务,可选择已经建好的数据集及样本文件进行执行任务,提交任务后会直接跳转在"数据处理"-"任务监控"中查看任务状态。

编辑任务,可根据需求对已有功能服务进行再次编辑。
