模型服务
模型推理
功能说明
训练并发布模型后,可展示在模型推理列表中。用户可在此查看模型状态,并体验模型推理操作。
参数说明
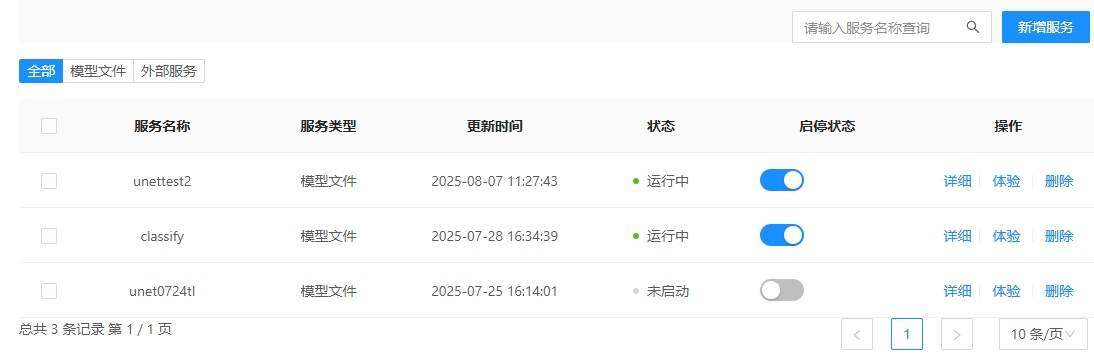
1. 登录系统,切换到"模型服务"->"模型推理"页面,列表中可显示所有已发布模型服务:

2. 点击"新增服务",可新增模型服务:

- 【服务名称】:自定义服务名称;
- 【服务说明】:自定义服务描述信息;
- 【服务类型】:可支持模型文件和外部服务两种类型:
- 模型文件:在系统中训练模型后,可直接选择训练后的模型进行发布。

- 外部服务:可基于Xinfenrence推理服务构建模型。

- 推理服务:目前仅支持Xinfenrence推理服务;
- 版本:选择Xinference推理服务版本;
- 服务基地址:设置服务基地址,格式{IP}:{端口号},默认端口号为9997;
- 模型类型:选择模型类型,包括语言模型和嵌入模型两种;
- 模型:下拉选择具体模型;
- GPU数量:设置GPU数量。
- 副本:推理过程中的副本,可分散请求负载,提高响应速度和服务稳定性。
- 模型文件:在系统中训练模型后,可直接选择训练后的模型进行发布。
3. 在"模型推理"列表,点击模型服务后方的"启用/停止",可启用/停止模型服务。
4. 在"模型推理"列表,点击模型服务后方的"详情",可查看模型服务的详细信息。
5. 在"模型推理"列表,点击模型服务后方的"删除",可删除模型服务。
6. 在"模型推理"列表,点击模型服务后方的"体验",可执行模型服务。
智能分析
智能分析提供批量预测任务的功能,以代码、工作流等方式模型推理与业务场景结合在一起,形成特定场景的分析任务,如遥感解译分析、视频图像分析、文本解译、文本生成、知识图谱构建等数据处理分析功能。

目前系统提供了 影像实例分割 和 影像语义分割 两个功能服务。
任务监控
1. 登录系统,切换到"模型服务"->"智能分析"->"任务监控"页面,列表中可显示已执行的智能分析任务:

2. 点击"创建任务",可跳转到"功能服务"页面,用户可选择某种服务进行操作。
3. 在"任务监控"列表,点击任务后方的"详情",可查看任务的详细信息。
4. 在"任务监控"列表,点击任务后方的"删除",可删除任务。
影像实例分割
1. 登录系统,切换到"模型服务"->"智能分析"->"功能服务"页面;
2. 点击"影像实例分割"后方的"编辑",可修改功能服务信息:

3. 点击"影像实例分割"后方的"创建任务",可执行功能操作。

影像语义分割
1. 登录系统,切换到"模型服务"->"智能分析"->"功能服务"页面;
2. 点击"影像语义分割"后方的"编辑",可修改功能服务信息:

3. 点击"影像语义分割"后方的"创建任务",可执行功能操作。
模型服务接入
功能说明
模型服务接入是人工智能模型(如大语言模型、图像识别模型、语音识别模型等)集成到系统中,以提供智能化能力的服务。
操作说明
1. 登录系统,切换到"模型构建"->"模型服务接入"页面,选择“添加供应商”,进入到新建接入模型页面:

【提供商名称】:可自定义供应商名称;
【服务商图标】:上传本地图片生成图标;
【提供商描述】:可自定义描述信息;
【服务类型】:支持 igssxinference和OpenAI 两种类型;
【版本】:下拉框自动读取选择;
2.新建完成后点击“确定”,列表生成对应模型服务可进行API 地址及密钥配置,然后再根据需求添加对应的模型即可使用。

【API密钥】:使用 API Key机制确保调用安全,可在接入模型服务官网申请API Key。
【API地址】:通过 RESTful API调用远程 AI 模型服务地址(如阿里云百炼、OpenAI、Google Vertex AI 等);
【获取可选模型】:添加调用远程 AI 模型服务地址中自动读取已存在的大模型,支持分组添加;

【添加模型】:可添加系统内置的模型服务,添加正确参数即可添加成功。

3.大模型添加成功后,可在列表中按照分组进行展示,支持对模型进行启动、停止及删除等操作。只有被添加成功的模型在“应用管理”中可被成功添加进行人工智能应用。
